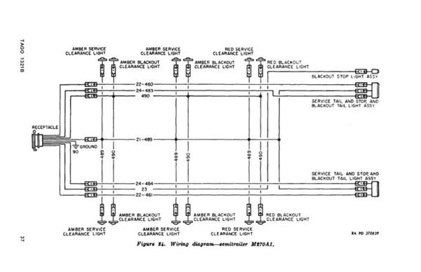
Semi Truck Trailer Wiring Diagram

When it comes to operating a semi truck with a trailer, having a proper wiring diagram is essential for ensuring the safety and functionality of the vehicle. The wiring diagram serves as a guide for connecting the various electrical components of the truck and trailer, including lights, brakes, and signals.

Without a reliable wiring diagram, it can be challenging to troubleshoot any electrical issues that may arise while on the road. Having a clear understanding of how the wiring is set up can help prevent accidents and ensure that the truck and trailer are operating correctly.

Semi Trailer Wiring Diagram Wiring DiagramSemi Trailer Wiring Diagram Wiring Diagram (www.autowiringdiagram.net)

Semi Truck Trailer Wiring Diagram

The wiring diagram for a semi truck trailer typically includes a 7-way connector that allows for the connection of various electrical components. This diagram outlines the color-coding for each wire, as well as the corresponding function, such as turn signals, brake lights, and ground connections.

It is important to refer to the wiring diagram when installing or repairing any electrical components on the truck or trailer. Following the correct wiring layout can prevent short circuits, blown fuses, and other electrical malfunctions that could compromise the safety of the vehicle.

Additionally, having a clear understanding of the wiring diagram can help truck drivers and maintenance technicians quickly identify and resolve any issues with the electrical system. This can save time and money by avoiding unnecessary repairs and downtime for the vehicle.

In conclusion, a semi truck trailer wiring diagram is an essential tool for maintaining the electrical system of a commercial vehicle. By following the diagram and ensuring proper installation and maintenance, truck drivers can operate their vehicles safely and efficiently on the road.


Download and Print Semi Truck Trailer Wiring Diagram Listed below

Semi Trailer Wiring Diagram Wiring DiagramSemi Trailer Wiring Diagram Wiring Diagram (www.autowiringdiagram.net)

Semi Truck Trailer Wiring DiagramSemi Truck Trailer Wiring Diagram (stewart-switch.com)

Semi Truck Trailer Wiring DiagramSemi Truck Trailer Wiring Diagram (stewart-switch.com)

Semi Truck Trailer Wiring DiagramSemi Truck Trailer Wiring Diagram (stewart-switch.com)

Semi Truck Trailer Wiring DiagramSemi Truck Trailer Wiring Diagram (www.tankbig.com)

Semi Truck Trailer Wiring Diagram

Learning Semi Truck Trailer Wiring Diagram is more than just a basic requirement — it’s a powerful tool that can greatly enhance the quality, security, and performance of any electrical project. Whether you’re a homeowner handling small home projects or a qualified technician dealing with complex circuits, the ability to analyze wiring diagrams accurately can increase productivity, reduce issues, and ensure success.

The Semi Truck Trailer Wiring Diagram act as a common framework in the world of electricity. They break down complex circuits, give insight during troubleshooting, and support that every connection is made with purpose and precision. As electrical technology continues to evolve, having a solid understanding of these diagrams keeps you ahead of the curve and able to handle new technologies.

Don’t forget, no matter your experience level, continuous learning is key. Study real-world examples, keep up with industry standards, and don’t hesitate to seek expert advice when needed.

Thank you for taking the time to read this article Semi Truck Trailer Wiring Diagram. We hope it helped you gain a deeper understanding of wiring diagrams and their importance. Be sure to browse our other articles to continue expanding your skills in technical topics and beyond.