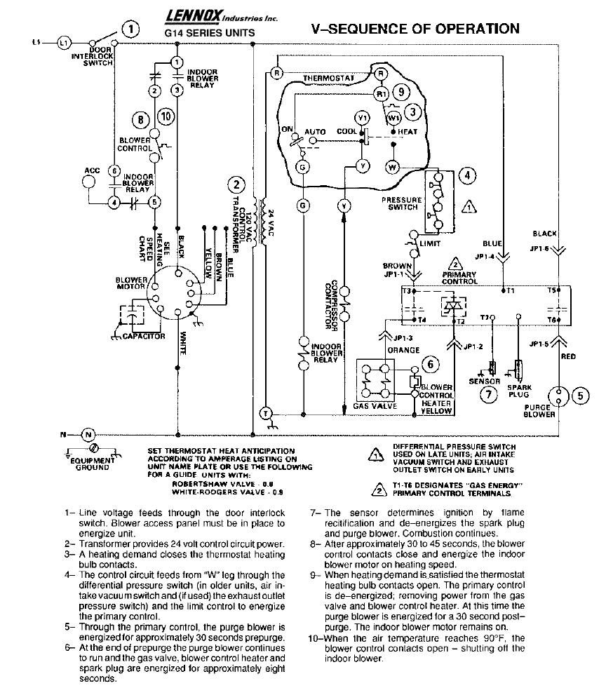
Lennox Hp26-030-12p Wiring Diagram

When it comes to HVAC systems, having the right wiring diagram is crucial for proper installation and maintenance. One popular model, the Lennox Hp26-030-12p, requires a specific wiring diagram to ensure everything is connected correctly. Understanding this diagram can help HVAC technicians troubleshoot any issues and keep the system running smoothly.

Lennox is known for its high-quality heating and cooling products, and the Hp26-030-12p is no exception. This heat pump model is efficient and reliable, but proper wiring is essential for optimal performance. The wiring diagram provides a visual representation of how all the components are connected, including the compressor, fan motor, and thermostat.

The Ultimate Guide To Understanding Lennox Heat Pump Wiring DiagramThe Ultimate Guide To Understanding Lennox Heat Pump Wiring Diagram (techschematic.com)

When looking at the wiring diagram for the Lennox Hp26-030-12p, technicians will notice different colored wires that correspond to specific functions. For example, red wires typically indicate power supply, while green wires are used for fan motors. By following the diagram closely, technicians can ensure that each wire is connected to the correct terminal, preventing any potential issues down the line.

It’s important to note that the wiring diagram for the Lennox Hp26-030-12p may vary slightly depending on the specific installation setup. HVAC technicians should always refer to the manufacturer’s instructions and guidelines when working with this model. If there are any questions or concerns about the wiring diagram, it’s best to consult with a professional to avoid any mistakes.

In conclusion, having a solid understanding of the wiring diagram for the Lennox Hp26-030-12p is essential for proper installation and maintenance. By following the diagram carefully and double-checking all connections, HVAC technicians can ensure that the system operates efficiently and effectively. With the right knowledge and attention to detail, the Lennox Hp26-030-12p can provide years of reliable heating and cooling for any home or building.


Download and Print Lennox Hp26-030-12p Wiring Diagram Listed below

The Ultimate Guide To Understanding Lennox Heat Pump Wiring DiagramThe Ultimate Guide To Understanding Lennox Heat Pump Wiring Diagram (elecdiags.com)

Lennox Air Handler Wiring Diagram Wiring Diagram PicturesLennox Air Handler Wiring Diagram Wiring Diagram Pictures (schematron.org)

Unraveling The Lennox Wiring Diagram A Comprehensive Guide For HVAC Unraveling The Lennox Wiring Diagram A Comprehensive Guide For HVAC (techdiagrammer.com)

Lennox Gcs16 Wiring Diagram Wiring DiagramLennox Gcs16 Wiring Diagram Wiring Diagram (wiringdiagram.2bitboer.com)

Lennox Thermostat Wiring DiagramLennox Thermostat Wiring Diagram (www.chanish.org)

Lennox Hp26-030-12p Wiring Diagram

Learning Lennox Hp26-030-12p Wiring Diagram is more than just a practical ability — it’s a key advantage that can greatly enhance the effectiveness, security, and performance of any electrical project. Whether you’re a casual user handling DIY installations or a qualified technician dealing with large-scale systems, the ability to read and interpret wiring diagrams accurately can save you time, reduce issues, and deliver better outcomes.

The Lennox Hp26-030-12p Wiring Diagram serve as a standard guide in the world of electricity. They simplify complex circuits, give insight during troubleshooting, and support that every connection is made with care and correctness. As electrical technology continues to evolve, having a solid understanding of these diagrams keeps you prepared for change and equipped to handle future challenges.

Don’t forget, no matter your skill set, regular practice is key. Study real-world examples, stay updated with industry standards, and don’t hesitate to seek expert advice when needed.

Thanks for reading Lennox Hp26-030-12p Wiring Diagram. We hope it gave you insight of wiring diagrams and their value. Be sure to explore our other resources to continue building your knowledge in technical topics and beyond.